Ударные машины на выставке «СТТ-2007»
На выставке в Москве среди прочего были представлены гидравлические молоты, используемые в качестве сменного рабочего органа экскаваторов и погрузчиков для выполнения работ по разрушению бетонных и асфальтобетонных дорожных покрытий, дроблению негабаритов горных пород, рыхлению скальных и мерзлых грунтов и других подобных работ. Демонстрировались и машины для забивки в грунт железобетонных свай и стальных труб.
![]() |
| Дистанционно управляемый манипулятор Brokk 330 |
Наибольшее количество экспонатов – гидравлических молотов для разрушения прочных материалов представили южнокорейские фирмы. Эти модели по принципиальной схеме и компоновке аналогичны известным гидромолотам японской фирмы Furukawa, а отличаются от японских и между собой лишь внешним оформлением. Как правило, все фирмы выпускают гидромолоты в трех конструктивных исполнениях: ударный блок закреплен в щеках, на которые сверху устанавливается адаптер для присоединения к экскаватору; ударный блок закреплен в щеках, в которых в боковой части уже предусмотрены соответствующие отверстия для присоединения к экскаватору; ударный блок размещен в закрытом коробчатом кожухе (городской вариант с пониженными шумом и вибрацией).
Ударный блок гидромолота во всех исполнениях применяется один и тот же. Фирма Jisung Heavy производит гидромолоты 18 типоразмеров массой от 72 до 3020 кг, компания GB Industries – 10 типоразмеров массой 1580...3020 кг, фирма KOMAC – 14 типоразмеров массой 80...4230 кг, Kwanglim SG – 12 типоразмеров массой 112...3746 кг; Soosan – 16 типоразмеров гидромолотов массой 102...3991 кг; Delta Fine представлена моделями 9 типоразмеров массой 160...3870 кг. Разнообразие типоразмеров и вариантов их исполнений позволяет оптимально подобрать машину к конкретной модели экскаватора, масса которого может находиться в интервале 0,8...55 т. Как показывает опыт эксплуатации гидромолотов некоторых корейских фирм в России, эти машины достаточно высоконадежны, а их цена в сравнении с аналогичными европейскими моделями более привлекательна.
![]() |
| Ударный блок гидромолота Delta Fine |
Из отечественных конструкций гидромолотов ООО «Компания «Традиция-К» представила на выставке хорошо известную модель МГ-300, а нижнетагильский Уралвагонзавод в проспектах на свои экскаваторы приводит сведения о том, что в качестве дополнительного оборудования к экскаваторам ЭО-5126 могут поставляться как корейские гидромолоты, так и российская модель Д-550 массой 1800 кг с энергией удара 5 кДж, производство которой недавно освоил Невьянский машиностроительный завод. В конструкции Д-550 не применяются гидропневматические аккумуляторы, для его привода используется только один вид энергоносителя – масло гидросистемы экскаватора, а гидроаккумулятор с жидкостной пружиной упрощает его эксплуатацию.
Интересную машину для разрушения строительных конструкций представила шведская фирма Brokk. Модель Brokk 330 представляет собой дистанционно управляемую самоходную гусеничную машину, оснащенную трехсекционной стрелой, на которой с помощью специального захвата монтируются сменные рабочие органы – гидромолоты, фрезы, клещевые дробилки, ножницы для резки металла, ковши и др. При собственной массе 4200 кг масса рабочего оборудования может составлять до 550 кг. На этой машине нет кабины: она управляется оператором с помощью беспроводной цифровой системы управления. Пульт управления весит всего 3 кг, оператор может управлять машиной с безопасного расстояния. Кроме этой модели фирма производит еще три модели меньших типоразмеров массой 380, 930 и 1900 кг, на которые навешивают сменные рабочие органы массой 60, 120 и 230 кг соответственно.
![]() |
| Гидромолот Д-550 |
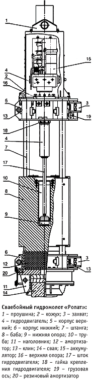
На выставке экспонировались также гидравлические молоты для забивки в грунт свай. Завод «Сибтекстильмаш» изготавливает сваебойные гидромолоты марки «Ропат» четырех типоразмеров моделей МГ3ш, МГ4ш, МГ5ш и МГ8ш. Максимальная энергия их удара – соответственно 33, 46, 55 и 85 кДж. Частота ударов этих моделей при максимальной энергии удара достигает 50...65 в минуту. Конструкция гидромолотов «Ропат» предусматривает возможность дистанционного бесступенчатого регулирования энергии удара в диапазоне от 5 до 100% максимального значения.
При снижении энергии удара повышается частота ударов до 180 в минуту, т. е. максимально используется мощность приводной насосной станции при забивке свай в самых разных грунтовых условиях, обеспечивая высокую производительность. Энергия удара гидромолота формируется за счет большой массы ударной части (бойка) при относительно низкой скорости в момент удара (до 5 м/с), что обеспечивает сохранность забиваемой железобетонной сваи и высокий к.п.д. удара. Для привода ударной части используется гидроцилиндр двойного действия, который не только поднимает ее на заданную высоту, но и толкает при рабочем ходе с ускорением 1,31g. Это позволяет сократить величину рабочего хода ударной части, длину молота, повысить частоту ударов в сравнении со сваебойными молотами, у которых ударная часть падает под действием собственного веса. Гидромолоты «Ропат» комплектуют электронным блоком, который позволяет в процессе работы определять сопротивление грунта при забивке сваи с погрешностью до 3% относительно статического измерения, т. е. определять несущую способность сваи.
![]() |
| Оборудование Grundoram для забивки труб в грунт |
Отсутствие выхлопа у гидравлических сваебойных молотов обеспечивает снижение шума в сравнении с аналогичными дизельными молотами, делает их применение более экологичным, позволяя успешно использовать их в городе. Однако эти гидромолоты конструктивно сложней и стоят существенно дороже дизельных молотов, которые традиционно выпускает стерлитамакский Завод «Строймаш». Предприятие производит дизельные молоты двух конструктивных исполнений – штангового и трубчатого типов. В штанговых ударная часть перемещается по направляющим штангам и является рабочим цилиндром, в который топливо подается насосом высокого давления через форсунку. Штанговые молоты обеспечивают более щадящий режим погружения сваи и лучше запускаются на слабых грунтах, ударный импульс у них более растянут по времени. В трубчатых дизельных молотах ударная часть является поршнем и движется внутри трубчатого корпуса, а распыление топлива осуществляется ударом сферического торца поршня по порции топлива, которое подается в сферу шабота (деталь, через которую удары передаются на сваю) насосом низкого давления. Ударный импульс у трубчатых дизельных молотов имеет более острый характер и большую амплитуду, что обеспечивает более высокую погружающую способность при забивке свай в плотные грунты.
Завод «Строймаш» выпускает штанговые молоты семи типоразмеров, масса их составляет от 400 до 5200 кг, масса ударной части – от 240 до 3500 кг. Трубчатые дизельные молоты составляют семейство из шести моделей массой от 1500 до 10 000 кг и массой ударной части соответственно от 600 до 5000 кг. Технологическим новшеством завода является применение для покрытия поверхностей плунжерных пар топливных и масляных насосов эпилама, что в несколько раз повышает их ресурс, снижает вероятность задиров и заклинивания.
![]() |
Большой интерес для строителей должно представлять оборудование немецкой фирмы Tracto-Technik для забивки в грунт горизонтальных и вертикальных труб диаметром до 2000 мм. Это оборудование применяют для прокладки коммуникаций под действующими автодорогами, железнодорожными насыпями, под реками и в других подобных случаях. После забивки трубы ее внутреннее пространство очищают от грунта, и в ней могут размещаться водопроводные трубы, линии связи и другие коммуникации. Комплект оборудования марки Grundoram имеет пневматический привод ударного механизма. Существует 12 типоразмеров машин, которые при забивке труб развивают толкающее усилие до 20 000 кН.
Забивка трубы иногда происходит со скоростью до 15 м/ч. Для привода ударного механизма используются компрессоры с подачей до 30...40 м3/мин при давлении 7 бар. Ударный механизм состоит из массивного цилиндрического корпуса, выполненного из стальной поковки, поршня-бойка, который перемещается внутри корпуса, и блока управления (пневмораспределителя). Поршень-боек снабжен эластичными опорными кольцами, которые одновременно являются уплотнениями. Блок управления расположен соосно с бойком. В машине нет резьбовых соединений, что упрощает сборку-разборку и повышает надежность. Возникает только вопрос, почему не применить для привода этого механизма не пневматический, а гидравлический привод?
![]() |























