
Пневматики НАМИ-1
Государственный трест резиновой промышленности Главного управления химической промышленности ВСНХ СССР был организован в феврале 1922 г. вместо «Главрезины» (Главного управления заводами резиновой промышленности), образованного постановлением ВСНХ 7 августа 1918 г. «Резино-Трест» просуществовал до 1929 г.
«Резино-Трест» получил права самостоятельной хозяйственной единицы, что позволило наладить закупку сырья. Однако в конце 1923 г. произошел «кризис товарной беспомощности» – затоваренность рынка в связи с увеличением цен на сырье. В 1924 г. 200 рабочих из 450 бывшего завода «Проводник» были сокращены, завод «Красный богатырь» остановился на три месяца. Первый экспорт резиновой обуви в Чехословакию и Австрию сорвался. Из 20 тысяч проданных в Швецию велошин вернули как брак 18 тысяч. Тем не менее в 1929/30 г. шины составляли уже 18% всей продукции; производство шин увеличилось по сравнению с 1925/26 г. более чем в 2 раза, и в 6,1 раза по сравнению с 1913 г.
Название «клинчерные» (clinch – англ. «зацеп, захват») шины получили из-за особой посадки на С-образный обод. Это название пришло из США, где такие шины устанавливали на автомобили Ford T до 1927 г. и до Второй мировой войны на мотоциклы Harley-Devidson. В Европе такие шины называли шинами с бортовой кромкой – beaded edged tyres в англоязычном варианте.

Шины beaded edged имеют по наружным краям борта большие выступы из твердой резины, которые входят в специальные скобы по краям обода – clinch или beaded. Надежная посадка таких шин обеспечивалась высоким внутренним давлением (4 атм). При падении давления колесо «разбортировалось» при боковых нагрузках. Шина могла соскочить с обода как следствие того, что борт клинчерной шины при монтаже растягивался, так как его сердечник (вульст) состоял только из шнура твердой резины.
Государственный трест на заводе «Красный Треугольник» в Ленинграде к концу 1920-х гг. производил широкий модельный ряд баллонных шин и шин высокого давления для грузовиков, автобусов и легковых автомобилей, предлагающихся в том числе на экспорт. В прайс-листе на финском и шведском языках указывается более 50 моделей шин. Две модели баллонных шин обозначались как 730х130 и 775х145.

Эти шины монтировались, как следует из каталога, на ободья, обозначавшиеся 715х115, 730х130 и 775х145 соответственно, что совершенно ничего не говорит о размере обода, так как 730 – это наружный диаметр шины (D) в миллиметрах, 130 – ширина сечения шины (S), также в миллиметрах.
В США первые шины типа Balloon представила 5 апреля 1922 г. фирма Firestone, применив для них кордовую ткань. С появлением шин типа Balloon их стали обозначать через диаметр обода (d) и ширину сечения (S). Так, предлагаемая с 1924 г. для автомобилей Ford T баллонная шина имела обозначение 21”х4,50”. По диаметру (D) это шина соответствовала шинам высокого давления 30”х3” и 30”х3,5”, устанавливаемым на ободья размером 24” и 23”. Диаметр обода соответствовал значению, определяемому по формуле d = D – 2S. По этой формуле для шин 730х130 получается диаметр обода 470 мм.
Для винтажных автомобилей предлагаются клинчерные шины типа 730х130 современного производства. Это, например, такие модели как:
– 730х130 Danlop Chevron; шина производства Danlop с рисунком протектора Chevron, имеющая наружный диаметр 741 мм и ширину секции 135 мм, устанавливается на обод диаметром 488 мм;
– 730х130 Excelsior с наружным диаметром 719 мм и шириной секции 119 мм, которая также устанавливается на обод 488 мм.
Для шин 730х130 фирма Richards Bros предлагает обод диаметром 480 мм (O.D.) и общей шириной 89 мм.

На чертеже «Передняя ось» автомобиля НАМИ-1, выпущенном примерно в 1925 г., указывается обод Continental 760х90. Такой обод должен по приведенной выше формуле иметь диаметр 580 мм. Европейские шины 760х90 соответствуют дюймовым 30”х3,5” (762х88,9 мм) которые ставились в том числе на автомобиль Ford T. Клинчерный обод шин 30”х3,5” автомобиля Ford T имел ширину 27/8” (73 мм), зев 21/16” (52,4 мм), высоту 1/2 (12,7 мм), внутренний диаметр около 22 3/4” (578 мм). Сечение обода колеса автомобиля НАМИ-1, определенное в соответствии с чертежом, в принципе, соответствует предназначенному для шин 30”х3,5”: обод имеет наружную ширину 75 мм, внутреннюю (зев) – 50 мм. По чертежу внутренний обод имеет диаметр – 508 мм (20”), наружный диаметр обода (O.D) составил – 544 мм. Следовательно, колесо в сборе должно иметь диаметр 724 мм.
На шасси 1925 г. шины узкие (96 мм), имеют диаметр 710 мм (28”), высоту 76 мм (3”), внешний диаметр обода 562 мм, внутренний 524 мм. На выпускаемых шасси шины изображены заметно шире 130 мм, диаметр шин соответствует 760 мм, высота – 86 мм, диаметр обода оставлен без изменения.

В первой статье о НАМИ-1, опубликованной в 1925 г. в журнале «Мотор» №8 под названием «Описание легкового автомобиля Н.А.М.И.», говорится: «Он [НАМИ-1] снабжается... съемными дисковыми колесами с пневматиком 710х90». Таким образом, на чертеже должно быть изображено колесо с ободом 710х90, а не 760х90. Можно отметить, что размеры обода в разных странах могли отличаться. В европейских публикациях иногда встречается указание на обод Continental. Возможно, конструктор К.А. Шарапов, проверяющий А.А. Липгарт и ответственный конструктор А.С. Кузин, подписавшие чертеж, имели в виду только профиль Continental.

Именно колеса с шинами высокого давления размером 710х90 предусмотрел для своего автомобиля Tatra-11 Г. Ледвинка. Первоначально на автомобиль НАМИ-1 планировали ставить шины Michelin. Компания Michelin действительно производила шины высокого давления размера 710х10, а завод «Красный Треугольник», относящийся к «Резино-Тресту», таковых не выпускал, как и шины 760х90.
На чертеже передней оси автомобиля НАМИ-1 с разрезом колеса отверстие под вентиль не изображено. Примечательно, что у автомобилей Tatra-11 с шинами высокого давления 710х10 вентиль размещался на внутренней стороне обода, так как почти плоский диск просто не оставлял места для размещения вентиля снаружи. У моделей автомобиля Tatra-12, получивших новые колеса с баллонными шинами 4.00х18/ 4.50х18, вентиль размещался уже с наружной стороны.

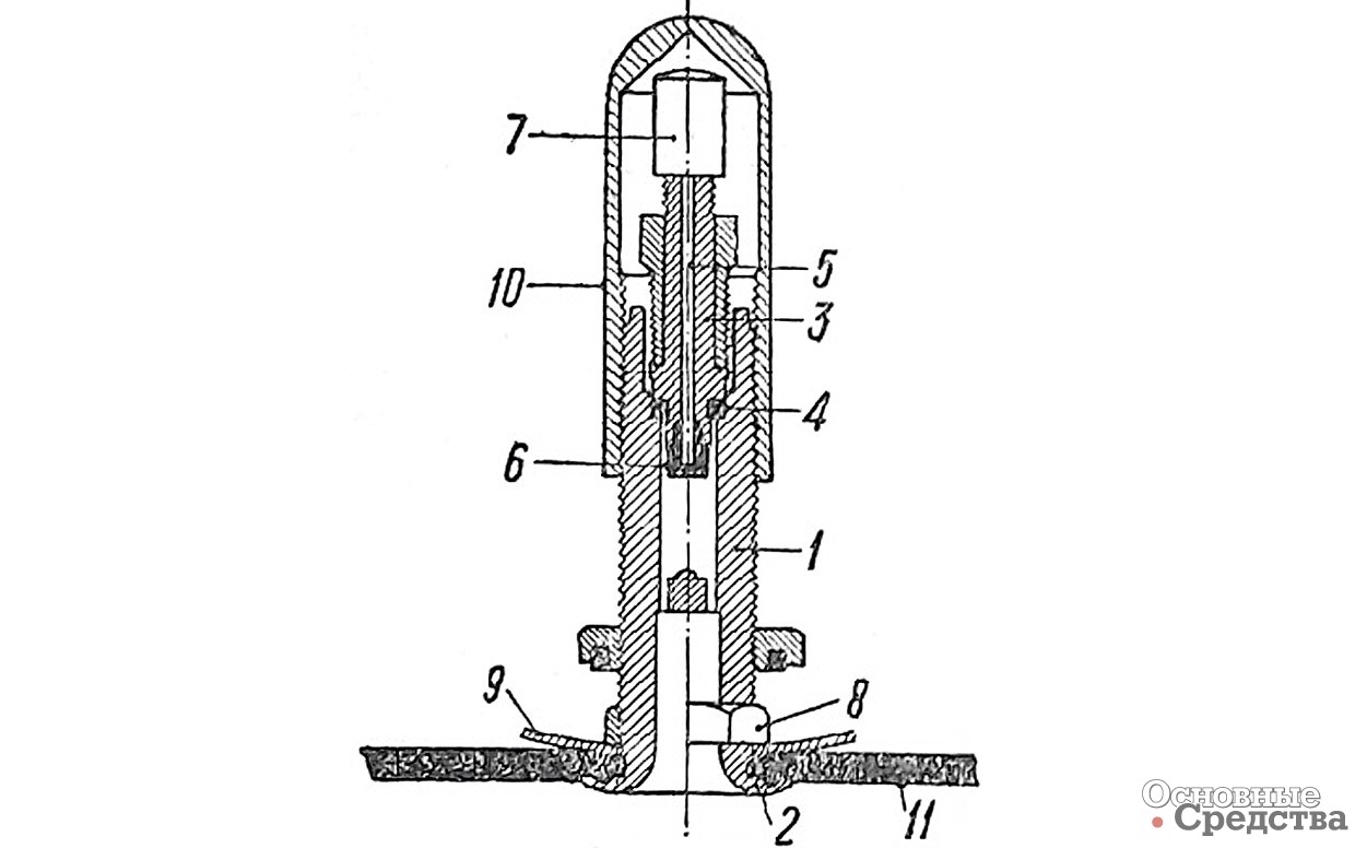
Кстати, о вентилях. Пружинный вентиль был разработан Августом Шрадером в 1891 г. и выпускался в США с 1893 г. С конструктивными изменениями вентиль Шрадера производится до настоящего времени. Он используется не только в различных пневматических устройствах, но и для гидравлики. Диаметр трубок современных вентилей 8 мм, а в 20-х годах США и Британия имели свои стандарты, в странах Европы получил распространение тип Continental.

Отечественная шинная промышленность использовала так называемый «русский вентиль» с игольчатым клапаном. Такой вентиль не получил распространения.

Судя по сохранившимся изображениям автомобиля НАМИ-1, для его шин использовались русские вентили с игольчатым клапаном.

Всесоюзный автомобильный пробег 1925 г. показал, что все зарубежные шины 15 марок из семи стран были изготовлены из ткани типа «корд» (Cord, Cable,) и только отечественные шины делались с использованием устаревшей ткани автопнев. Из ткани автопнев шины изготавливались с самого начала своего развития. Автопнев представлял собой ткань обычного плетения с основой и утком одинаковой частоты и соответственно прочности. Несмотря на самую тщательную прорезинку в местах пересечения нитей их не удавалось изолировать резиной друг от друга. При деформации шины в этих местах из-за трения происходило перетирание нитей и нагрев, приводившие к быстрому выходу шины из строя. Для снижения этого эффекта давление в шине должно было быть высоким, с тем, чтобы уменьшить прогиб шины до 12–15% от высоты сечения.
На смену автопневу в начале столетия пришел новый материал для каркаса, так называемый автокорд или просто корд. Эта ткань, в отличие от обычной или не имела утка (безутковый корд), или имела в виде очень редких и тонких нитей, необходимых для фиксации нитей корда при прорезинировании.

Британская компания Palmer Tyre, Ltd из Бирмингема (Palmers Cord Tyres, Palmer Tyre Company) в сентябре 1902 г. на выставке Stanley Show предлагала шины для мотоциклов из материала, уже широко известного как Palmer Fabric. В 1903 г. фирма предлагала кордовые пневматические шины большого сечения (4”–5”), изготовленные на станках без применения ручного труда, взамен шин высокого давления сечением 2,5”–3”.
За несколько лет до этого компания на заводе India Rubber Works в Сильвертауне, где производились велосипедные шины Palmer, начала проводить дорогостоящие эксперименты. В результате этих исследований было обнаружено, что шины, изготовленные из прочных, почти прямых нитей или кордов, во всех отношениях значительно превосходят покрышки, сделанные из холщовых тканей с покрытием – автопнева. Palmer Tyre столкнулась с большими трудностями, связанными с изготовлением таких кордовых шин в промышленных объемах. Однако в результате настойчивых экспериментов на заводе Silvertown Works началось производство новых шин. Компания Palmer Tire Co. была зарегистрирована 14 марта 1995 г. В 1996 г. Dunlop Pneumatic Tyre Co. приобрела патенты на Clincher у Palmer Tire. Клинчерный обод применялся для установки литых шин. Такой обод еще используется для шин велосипедов. 1933 г. British Goodrich Rubber Co приобрела India Rubber, Gutta Percha и Telegraph Works Co., включая их дочернюю компанию по продажам Palmer Tire Co. Затем материнская компания, которая стала называться British Tire and Rubber Co., производила шины для автомобилей, самолетов и велосипедов и продавала их под торговым названием Palmer.
Обычная ткань корд, идущая на изготовление каркаса отечественной шины, имела 25 нитей на один дюйм. Для изготовления брекера шины использовался так называемый редкий корд имеющий только 12–18 ниток на дюйм. Корд изготавливался из длинноволокнистого хлопка из нити 23/5/3, где 5 – число нитей пряжи в пряди, 3 – число прядей в нити. Крутка пряжи № 23 имела 20,5–21,5 оборота на 1 дюйм. Затем при скручивании нитей пряжи в прядь крутка 23/5 имела от 18 до 19 оборотов на дюйм. И наконец, последняя крутка 23/5/3 при прядении нити корда имела 9 оборотов на дюйм. Крутка пряжи и первая крутка производились в правую сторону, а вторая – в левую. При таком способе прядения кордовой нити, при нагрузке в 4,5 кг, она давала удлинение на 14–17%, что в достаточной мере обеспечивало эластичность.

Автокорд позволил резко увеличить срок службы каркаса. Кроме того, стали использовать дополнительные резиновые прослойки между слоями каркаса – сквиджи. Шины Ленинградской фабрики «Красный Треугольник» типа Bolon, как и ряд шин высокого давления, изготавливались из материала Cord, т.е. по новой технологии, на которую завод перешел в 1926 г. Реконструкция завода началась в 1925 г.: с завода «Проводник» завезли около 600 вагонов оборудования и закупили станков на сотни тысяч рублей золотом. В капитальные сооружения вложили около 10 млн руб. Шины «Колумбъ» Т-ва «Проводникъ» использовал известный автомобилист А.П. Нагель на своем автомобиле Русско-Балтийского завода.
Клинчерный обод для шины 710х90 имеет такое же сечение, что и для шины 760х90. Это следует из технической информации современных производителей изделий для винтажных автомобилей. Ободья имеют внутреннюю ширину 51 мм (2”), наружную – 74 мм, но отличается диаметром: наружный диаметр обода для шины 710х90 составляет 548 мм, внутренний 511 мм, а для шины 760х90, эти размеры соответственно 592 и 511 мм. Для шин 730х130 внешний диаметр обода должен равняться 488 мм, а внутренний – 447 мм.
В приложении книги «Автомобильные шины», изданной в Ленинграде в 1934 г., для клинчерных шин низкого давления «Баллон» 730х130 указывается обод 730х130, наружный диаметр покрышки – 735±10 мм, ширина профиля – 125±5 мм. Размеры обода 730х130 приведены следующие: внутренний диаметр – 451 мм, наружная ширина – 81,55±1 мм, внутренняя ширина – 62,5±1 мм, глубина – 17,0±0,5 мм, при этом на схеме показывается высота обода, которая должна отличаться от глубины на толщину материала обода (3 мм). То есть наружный диаметр должен составлять 487 мм.
Шина НАМИ-1 730х130 имела вместо старой «ёлочки» новый рисунок протектора в виде ромбов, названный «Красным Треугольником» аллигаторным. Рисунок шины 730х130 состоял из 60 рядов шашек, расположенных ёлочкой в два ряда по сторонам от центральной беговой дорожки под углом 30°. Длина большей стороны шашки составляет 30 мм, ширина шашки 10 мм, такая же ширина центральной дорожки; ширина канавок 8 мм.

Аллигаторый рисунок получили клинчерные шины низкого давления, называемые «Баллон», размером 775х145, выпуск которых был освоен в 1933 г. Шины наружным диаметром 807±10 мм имели ширину профиля 145±5 мм. Такие шины монтировались на обод диаметром 19”. Баллоны 775х145, установленные на спицевых колесах, примеряли к первому советскому представительскому 7-местному автомобилю Л-1 «Красный Путиловец». На зарубежном аналоге Л-1, автомобиле Buick Series 90 1932-го модельного года (Buick 32-90), также на спицевых колесах устанавливались шины 7.00х18”.
Для автомобиля НАМИ-2, переработанной конструкции НАМИ-1, уже предусматривалась установка прямобортных шин на дисковые колеса. Шины на виде шасси имеют внешний диаметр примерно 716 мм, ширину профиля 113 мм, диаметр обода 483 мм, то есть соответствуют шинам размерности 4.50х19”.

На автомобиле НАТИ-2, доработанном НАМИ-2, была предусмотрена установка спитцевых колес автомобиля Ford A. Инженер Шарапов о конструкции автомобиля НАТИ-2 уже, по сути, разрабатываемой им лично, в брошюре «Малолитражный автомобиль», изданной в 1932 г., писал: «Колеса и резина те же, что и у Форда-А – 28х475». Шины 28х475 или 28х4,75 – это старое обозначение шин 4,75х19. Новое обозначение стало внедряться с появлением баллонных шин. Выпускающиеся в СССР шины с таким обозначением имели диаметр 747,5±10 мм и ширину профиля 128±5 мм.

Автомобиль Tatra-11 эволюционировал к 1930 г. в модель Tatra-57. Первоначально на этот автомобиль устанавливали, как и на предшествующие модели Tatra-12/ Tatra-13, дисковые колеса с шинами Michelin 4,50х18” или 140х40 Superbalon. Модернизированная Tatra-57 после 1933 г. получила колеса с шинами Michelin 5,25х16”. В 1937 г. сплошной диск колеса Tatra-57А был заменен на диск со звездочным краем.

Такие диски получили распространение в Европе во второй половине 30-х годов прошлого века. Крупные европейские производители изготавливали псевдозвездочный диск, делая высечки треугольной формы по его периферии, оставляя сплошным борт у загнутой кромки, предназначенной для посадки обода.
Колеса автомобилей Tatra-57А делали по другой технологии: лучи диска формировались штамповкой края диска в виде изогнутых лучей. Затем край каждого луча соединялся клёпкой с ободом. Такая же точно технология использовалась при производстве колес для отечественных легковых автомобилей.

Всё сказанное выше о дисках колес модели Tatra-57А имеет непосредственное отношение к автомобилю НАМИ-1 № 107, ныне экспонату № КП 14046 Политехнического музея. Этот автомобиль был обменен на «Москвич» у И.А. Могилёва из Иркутска в 1972 г. Приобретенный НАМИ-1 имел колеса от неизвестного автомобиля. При выполнении «реставрационных» работ в НАМИ диски колес закрыли пластмассовыми колпаками. В дефектной ведомости на автомобиль легковой НАМИ-1, подписанной зав. НН отделом автомобильной техники Политехнического музея Е.С. Бабуриным и с.н.с. отдела автомобильной техники О.В. Курихиным, указывается: «Колеса неродные (от «БМВ-236»)». Во-первых, колеса автомобиля BMW-236 крепились пятью гайками и, во-вторых, были псевдозвездочными. Таким образом, есть все основания считать, что автомобиль НАМИ-1 Политехнического музея укомплектован колесами Tatra-57А.

















